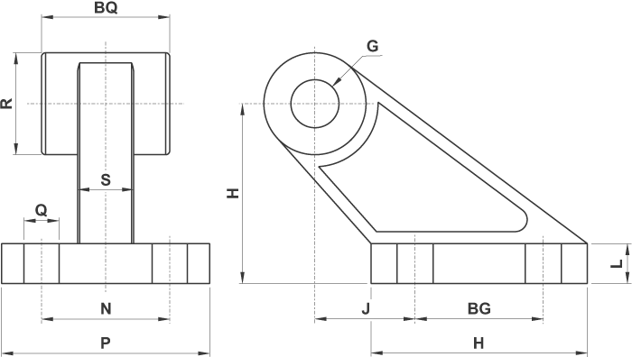
Controcerniera orizzontale a base rettangolare - norma ISO 6431 VDMA 

| sigla | per alesaggio | Q | BG | H | J | L | M | N | P | S | R | BQ | G |
| COVDMA32 | 32 | ø7 | 20 | 37 | 18 | 8 | 32 | 25 | 41 | 9 | 19 | 26 | ø10 |
| COVDMA40 | 40 | ø9 | 32 | 54 | 25 | 10 | 45 | 32 | 52 | 14 | 25.5 | 28 | ø12 |
| COVDMA50 | 50 | ø9 | 32 | 54 | 25 | 10 | 45 | 32 | 52 | 14 | 25.5 | 32 | ø12 |
| COVDMA63 | 63 | ø11 | 50 | 75 | 32 | 12 | 63 | 40 | 63 | 14 | 32 | 40 | ø16 |
| COVDMA80 | 80 | ø11 | 50 | 75 | 32 | 12 | 63 | 40 | 63 | 14 | 32 | 50 | ø16 |
| COVDMA100 | 100 | ø14 | 70 | 103 | 40 | 17 | 90 | 50 | 80 | 22 | 42 | 60 | ø20 |
| COVDMA125 | 125 | ø14 | 70 | 103 | 40 | 17 | 90 | 50 | 80 | 22 | 46 | 70 | ø25 |
| COVDMA160 | 160 | ø18 | 110 | 154 | 50 | 20 | 140 | 63 | 110 | 26 | 53.5 | 89 | ø30 |
| COVDMA200 | 200 | ø18 | 110 | 154 | 50 | 20 | 140 | 63 | 110 | 26 | 53.5 | 89 | ø30 |