AX.007.4
Minioscillatore 3/2 G1/8"


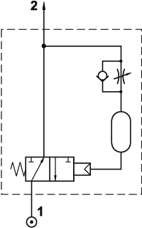
Modalità di funzionamento
È un dispositivo che, se alimentato al punto 1, fornisce in uscita impulsi a frequenza regolabile. La frequenza si stabilisce agendo sulla vite di regolazione R.
Per un funzionamento corretto è necessario che la pressione di alimentazione sia uguale o superiore a 3 bar, diversamente il dispositivo si può bloccare.
Dati tecnici
- Attacchi: raccordi automatici per tubo ø4
- Temperatura di esercizio: max +60°C
- Pressione di esercizio: 3 ... 10 bar
- Intervallo di regolazione: 0 ... 10 s
- Fluido: Aria filtrata 50µ con o senza lubrificazione
Materiali
- Corpo: alluminio 11S anodizzato
- Guarnizioni: NBR
- Molle: INOX
- Parti interne: ottone OT58
pag. precedente