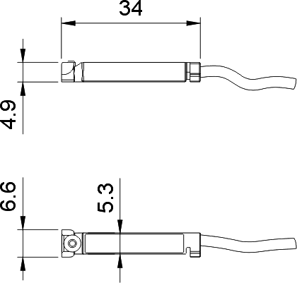
Sensori per cilindri pneumatici
![]() | ![]() |
![]() |



| Istruzioni per l’installazione: A. Inserire dall’alto il sensore come indicato in figura B. Ruotare di 90° il corpo del sensore C. Alloggiare il sensore nella cava tenendo in vista il taglio del grano D. Individuare la posizione di lettura, quindi avvitare il grano Istruzioni per la rimozione: E. Una volta allentato il grano, agire sul dentino di blocco posteriore F. Contemporaneamente sollevare il sensore aiutandosi con il cavo G. Ruotare di 90° il corpo del sensore H. Estrarre il sensore dalla cava | Instructions for installation: A. Insert the sensor from above as indicated in the image B. Rotate the body of the sensor by 90° C. Put the sensor in the groove keeping the head of the screw in sight D. When the reading position has been found, tighten the screw Instructions for removal: E. Loosen the screw and apply pressure on the back fixing element F. At the same time lift the sensor using the cable for help G. Rotate the sensor by 90° H. Remove the sensor from the groove |
| CILINDRO | STAFFA [mounting bracket] |
|
microcilindri ISO 6432 minicylinders ISO 6432 |
ø10: 26.039.0 ø12: 26.040.0 ø16: 26.041.0 ø20: 26.042.0 ø25: 26.229.0 clicca qui per disegno |
|
cilindri tondi round cylinders |
ø32: 26.230.0 ø40: 26.231.0 ø50: 26.232.0 |
|
cilindri compatti compact cylinders |
su cava a T : montaggio diretto su cava a coda di rondine : 26.147.0 |
|
cilindri corsa breve short stroke cylinders |
26.147.0
|
| cilindri ISO 6431 ø32 ... 125 |
montaggio diretto direct mounting |
| cilindri ISO 6431 ø160 ... 200 | 26.219.2 |
|
cilindri ad asta gemellata twin rod cylinders |
montaggio diretto direct mounting |