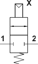
Pneumatically piloted
stop valves G1/8"
11.044.4
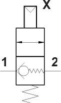
non-return valve with pneumatic unlock - ports G1/8"
11.066.4
pneumatically piloted stop valve - ports G1/8"
Technical data
Ports (supply and outlet): G1/8"
Ports (unlock signal): push-in fittings for ø4 tube
Temperature range: max +60°C
Nominal orifice: 3.5 mm
Working pressure: max 10 bar
Fluid: 50µ filtered, lubricated or non lubricated air
Materials
Body: aluminium 11S
Lower body: DELRIN
Seals: NBR
Springs: stainless steel
Internal parts: brass OT58
Flow rate related to supply pressure
Unlock pressure related to supply pressure
previous page